I-Pod/mp3-Player ans Autoradio anschliessen
Unterwegs im Oldie, die Radiosender spielen nur unpassende Musik und Werbung, das zeitgenössische Autoradio hat weder Kassettendeck noch CD-Fach, und der Beifahrersitz ist auch nicht mehr frei für den Ghettoblaster - dann gibts folgende Möglichkeiten:
a) selber singen
b) Loch ins Armaturenbrett sägen für ein aktuelles Radio, oder
c) das vorhandene Radio umbauen.
Lösungen a) und b sind selbsterklärend, daher gibts hier ein paar Tipps zu Lösung c):
Viele Autoradios aus den 60er bis 80er Jahren besitzen auf der Rückseite eine
Buchse zum Anschluss der damals erhältlichen Tonbandgeräte oder tragbaren Plattenspielern.
Die Buchse ist normalerweise mit einem Kunststoffdeckel verschlossen. In diesen Deckel eingegossen sind Stifte, welche bestimmte Kontakte der Buchse miteinander verbinden.
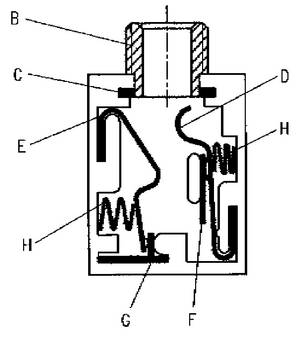
Im Bild die typische Anschlussbelegung eines Blaupunkt-Stereo-Autoradios aus den Siebzigern.
Wie man ein externes Audiogerät anschliesst, ist im Prinzip einfach. Die Buchse hat folgende Belegung:
1 Verstärkereingang links
2 Abschirmung und Rückleitung
3 Signalausgang links
4 Verstärkereingang rechts
5 Signalausgang rechts
In der Standardkonfiguration mit geschlossenem Kunststoffdeckel werden jeweils der linke und rechte Signalausgang (d.h. Signal vom eingebauten Rundfunkempfangsteil bzw. vom Kasettendeck) mit dem entsprechenden Verstärkereingang verbunden.
Hier kann man z.B. die Signalausgänge über einen externen Verstärker verstärken, über ein Tonbandgerät aufnehmen usw.; umgekehrt kann man über die Verstärkereingänge beliebige Audiosignale einspeisen, welche über den internen Verstärker verstärkt und über die eingebauten Autolautsprecher abgespielt werden.
Die meisten Audiogeräte haben eine Buchse für die weit verbreiteten 3,5 mm Klinkenstecker.
Die Klinkenstecker haben folgende Belegung:
- Spitze: linker Kanal
- Ring: rechter Kanal
- Hülse: Abschirmung und Rückleitung
Um das Ganze flexibel so zu verbinden, dass man wahlweise den im Radio eingestellten Sender oder die Lieblingsmusik aus I-Pod/mp3-Player/CD-Player hören kann, benötigt man noch eine Möglichkeit zum Umschalten - entweder mit einem Doppelschalter, mit einer Elektronik, welche erkennt ob das externe Gerät etwas abspielt, oder am einfachsten mit einer 3,5mm-Klinkenbuchse mit Umschaltung (z.B. bei Conrad unter Best.-Nr. 734101 - 62 erhältlich), hier auf eine Platine gelötet.
Ein sog. DIN- oder Diodenstecker (Belegung s.o.) und die Klinkenbuchse (Belegung s. rechts) werden an ein 5-poliges Mikrophonkabel gelötet.
Achtung: Es gibt verschiedene Ausführungen der DIN-Stecker und Buchsen!
Die Länge des Kabels wird natürlich so gewählt, dass es vom Autoradio quer durch das Armaturenbrett bis dorthin verlegt werden kann, wo man I-Pod/mp3-Player & Co zu verwenden gedenkt (Handschuhfach, Aschenbecher, in der Nähe des Lenkrads, ...).
Ich habe die Anschlüsse folgendermassen belegt:
| Bezeichung | DIN-Stecker | Kabelfarbe | Klinkenbuchse |
|---|---|---|---|
Verstärkereingang links |
1 |
weiß |
E |
Abschirmung und Rückleitung |
2 |
schwarz |
C |
Signalausgang links |
3 |
rot |
G |
Verstärkereingang rechts |
4 |
gelb |
D |
Signalausgang rechts |
5 |
blau |
F |
Die Klinkenbuchse kann man direkt ins Armaturenbrett setzen, im Handschuhfach verbauen, das Autoradio zerlegen und einen eleganten Anschluss in die Frontblende setzen, oder einfach nur in ein handliches Gehäuse verbauen.
Solche Adapter gibts fertig zu kaufen - beim Selbermachen hat man natürlich mehr Möglichkeiten, was Kabellänge, Optik und Einbau anbelangt.
Links:
Die Kabel-FAQ - Steckerbelegungen, Kabeldaten, Signalbezeichnungen, -spannungen und -stromstärken sowie spezielle Schaltungen







